Capacitive Cone-shaped Liquid Level Sensor NKC-H1304 series
- Brand:NOIKE-AH
- Model:NKC-H1304
Specification
Product Features
1. Equipped with heat dissipation fins, resistant to medium temperature of 120 ℃
2. Cone shaped liquid free patented design
3. Can detect anhydrous, high viscosity, low static electricity, conventional media, powders
debugging method
For level switches with PNP and NPN output forms (NC normally closed):
The green light is on and no liquid is detected.
The red light is on and the probe detects liquid contact.
Suspend the liquid level switch and adjust the potentiometer clockwise until the red light is on. There is no signal in the liquid or air
In the suspended state, turn counterclockwise to turn on the green light and then turn it one more circle.
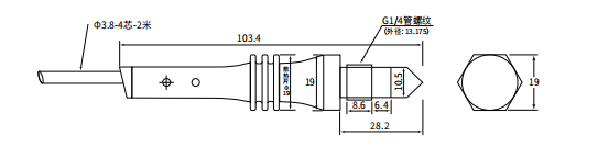
Dimensions (unit: mm)

wiring diagram

Table of Contents
Talk With Us
- [email protected]
- +86 180 5512 0225
- +86(0551)-65501008
- Address: 206, Block B, No. 2 Tianda Road, High-tech Zone, Hefei City, Anhui Province, China
- We will respond to you within five minutes.




